中国政府网
|
重庆市人民政府网
区县规划自然资源局
登录
注销
|
注册
重庆市
南岸区规划和自然资源局
首页
必威官方
渝快办
垂直管理区规划自然资源局
58必威网
58必威网站
88betway
58必威外网
重庆市沙坪坝区规划和自然资源局
365betway
重庆市南岸区规划和自然资源局
重庆市北碚区规划和自然资源局
重庆市渝北区规划和自然资源局
重庆市巴南区规划和自然资源局
58必威苹果
重庆市江津区规划和自然资源局
重庆市合川区规划和自然资源局
重庆市永川区规划和自然资源局
重庆市南川区规划和自然资源局
重庆市綦江区规划和自然资源局
重庆市大足区规划和自然资源局
重庆市璧山区规划和自然资源局
365必威
重庆市潼南区规划和自然资源局
重庆市荣昌区规划和自然资源局
重庆市两江新区规划和自然资源局
您当前的位置:
首页
>
政务信息
>
公告公示
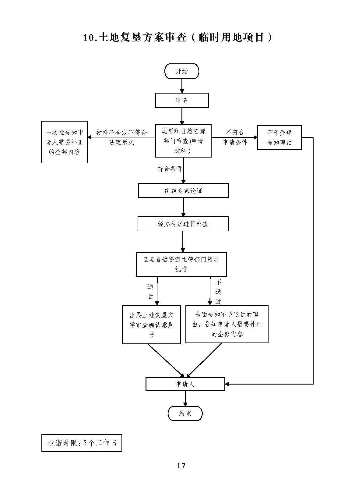
10.土地复垦方案审批(临时用地项目)
日期:
2022-04-06
大
中
小
返回目录
扫一扫在手机打开当前页
10588926
10.土地复垦方案审批(临时用地项目)
347079
公告公示
20
南岸区规划和自然资源局
2022-04-06
首页
>
子站
>
南岸区
>
公告公示
map