中国政府网
|
重庆市人民政府网
区县规划自然资源局
登录
注销
|
注册
58必威网
58必威网
必威官方
渝快办
垂直管理区规划自然资源局
88betway
88必威
58必威网站
88betway88
重庆市沙坪坝区规划和自然资源局
重庆市九龙坡区规划和自然资源局
58必威网
365betway
重庆市渝北区规划和自然资源局
58必威苹果
重庆市长寿区规划和自然资源局
重庆市江津区规划和自然资源局
重庆市合川区规划和自然资源局
betway安卓版
58必威外网
重庆市綦江区规划和自然资源局
58必威
重庆市璧山区规划和自然资源局
重庆市铜梁区规划和自然资源局
重庆市潼南区规划和自然资源局
重庆市荣昌区规划和自然资源局
重庆市两江新区规划和自然资源局
您当前的位置:
首页
>
政务信息
>
公告公示
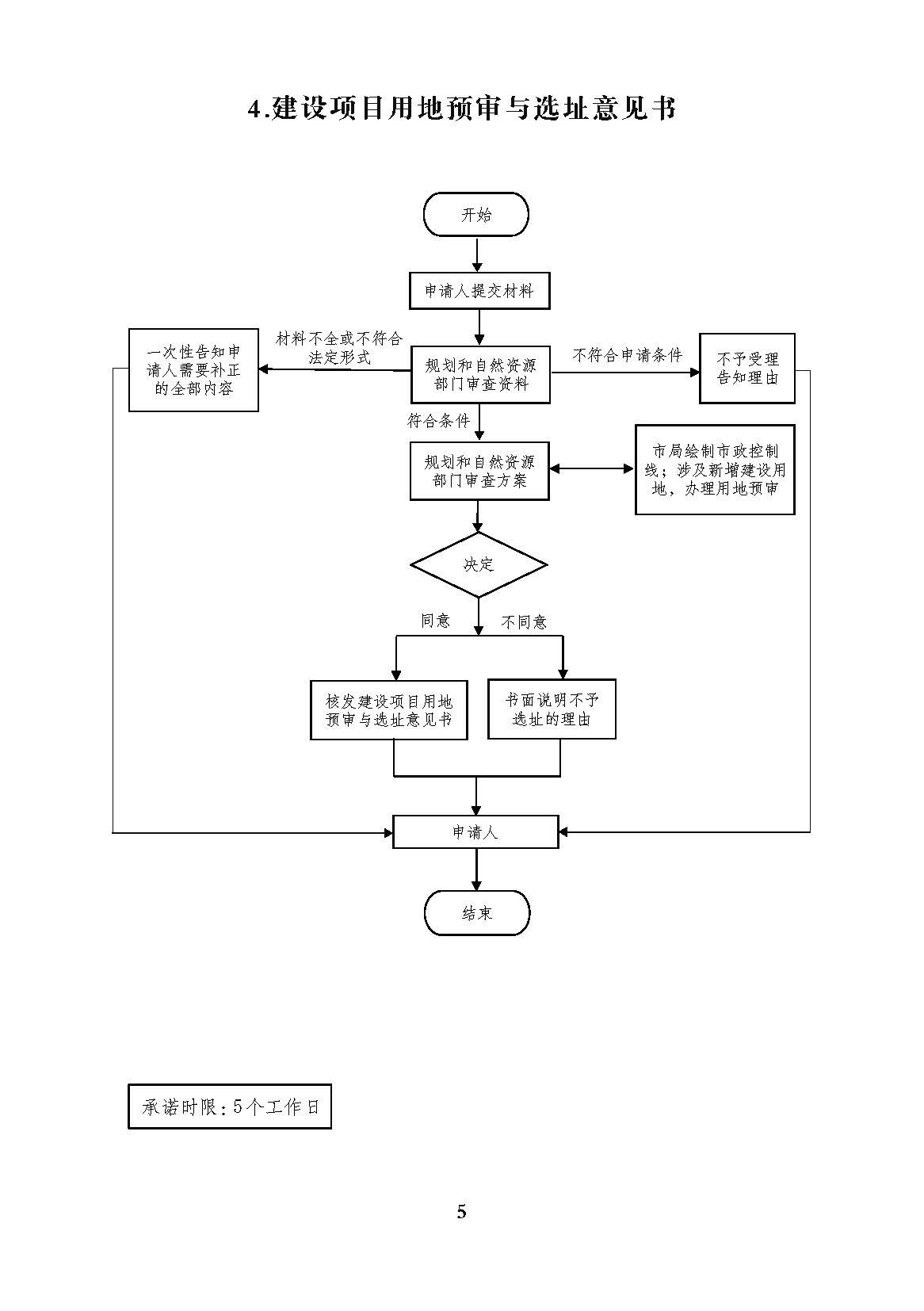
4.建设项目用地预审与选址意见书
日期:
2022-04-02
大
中
小
返回目录
扫一扫在手机打开当前页
10586486
4.建设项目用地预审与选址意见书
347079
公告公示
20
南岸区规划和自然资源局
2022-04-02
首页
>
batway官方网站
>
58必威网
>
公告公示
map